Sony si nechala patentovat AI asistenta, který by mohl pomoci hráčům s hraním her


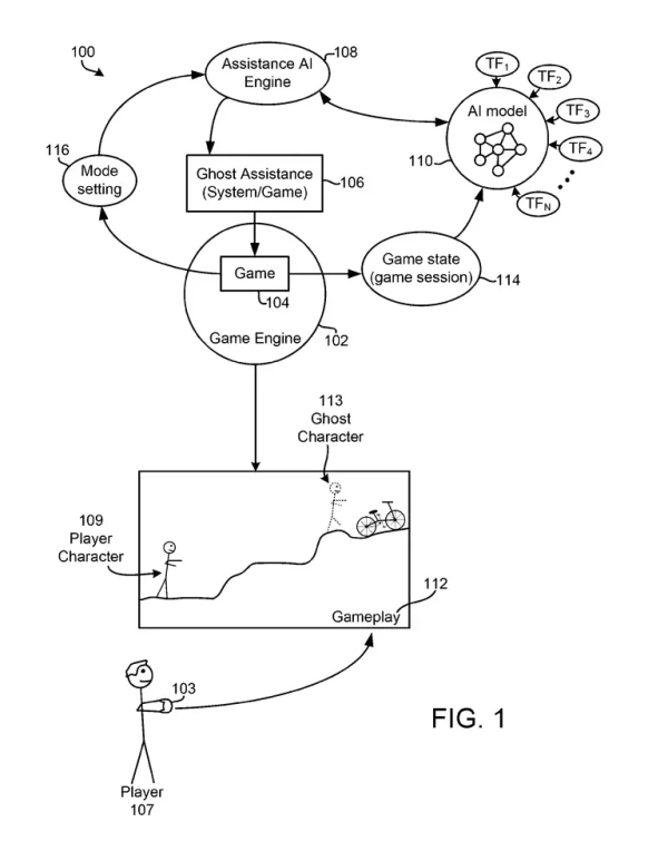
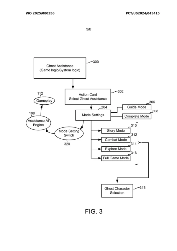
Myšlenka je taková, že by tato technologie pomohla hráčům překonávat různé pasti i s dokončováním samotných her, aniž by museli hledat řešení na jiné obrazovce, třeba na mobilu, kde budou mít Google nebo Youtube. Hry by tak mohly být přístupnější, ale je otázkou, jestli by se v nich nevytratila jakákoliv výzva. Každopádně patent na AI asistenta neznamená, že bude Sony tuto technologii v dohledné době implementovat do svých her. Jde pouze o patent, navíc stále koncept, který nemusí být nikdy realizován. Do komentářů nám ale můžete napsat, jestli byste něco podobného ve hrách ocenili.













Komentáře (29)
Ja bych spíš ocenil, kdyby se AI postarala o automatický překlad titulek originálu, aby jsme si zahráli všechny hry s CZ titulkama, což by bylo dnes už normálně reálné. A ne takové blbosti
Bych se vysral… To je jak hrát hru na jůtubku🙄
😁 Darwinovu cenu za nápad roku získává ...
Ještě mě napadlo, že si to dost představuji jako ostatní hráče v soulsech od FromSoftware. Takže celkem dlouholetá standardní věc, akorát nikdo z FS nevymýšlí blbosti, aby si to nechal patentovat a jestě k tomu, aby do toho vstupovalo AI. Pak tam bude chybět ten výbornej lidskej trolling rady... Kolikrát já zahučel do propasti z nápovědy v souls. 🤣
Sony, Sony, sorry, kdejaká i starší závodní hra tohle v podstatě měla.
Ale jako chudáci nové generace. S tím souhlasím. Fráze: "Dohrál jsem na yt" nabírá nový směr. 🤣
Kazdej z nas se obcas asi mrkne na navod, kdyz uz fakt nevi co dal... Ale tady hrozi, ze zdegenerujem, protoze kdyz to bude inplementovany primo ve hre, pri kazdym sebemensim zaseku nam mozek vyda prikaz: koukni na ducha...Doufam, ze to pujde uz v nastaveni vypnout.🤔😆
@Prekrvené ramienka 💙 radši si dám klizma benzínovou pistolí, než ty ajchi plnit znovu. To byl hloupej sebehypetrain🫣😁
Trofeje jdou ruku v ruce s fenoménem ulehčování. Malokdy se už v nich zračí důvtip.
Ja bych chtel ducha i tady, aby mne udelal trofeje na KZ, bukvo? 😀
@꧁༒♛Makléř♛༒꧂ To je taky fakt. PS3 trophies byly jinej level. I když nový H&S občas maj taky pro mě nesplnitelný, ale to bude asi věkem, kdy ubejvá skill. 🤣
@SilwerCZ Kdyby km, byly to míle. 🤣 A kdyby ta pitomá hra necrashovala, když jsem jezdil kolečka se zafixovaným analogem, tak by to bylo hotový, než přijdu z práce. 🤣
@マルツェル
No ono hnat se za nejakou imaginarni trofeji a jet kvuli ni 900km taky dost o inteligenci vypovida😀
@マルツェル a nebylo by lepsi, kdyby se trofeje vratily k tomu, aby byly vyzva a ne jen tupe sbirani ♦️vin co kazdyho jen obtezuje a neni to absolutne zadna znamka uspechu?
@Acemax67 tak to by si mistr vzal uver a koupil kazdou jednu hru co vysla
Vzhledem k tomu, že nyní hraji Final Fantasy Pixel Remastered kolekci, tak bych takového asistenta uvítal, aby za mě grindil spawn těch rare enemies, či obecně brainwash grind v sérii FF jako takové. Ideálka na trofeje.
Nebo vypatlanost v Mafii 2, kde musíte ujet 900 mil, když po dohrání kompletní hry, jste zhruba na 100 mílích. Jen ať to za mě klidně jezdí. Na tyhle tupý trofeje perfektní. Dementi ať si s tím klidně dohrávají hry celé. 😜
Hele co třeba tzv Platinum edice her? Snížená cena třeba jen na 20usd, zakoupením by rovnou cinkla platina a odemklo by se video shrnující zásadní momenty ve hře.
@Starky Přesně tak. Kdo si chce pořádně zahrát tak nejlíp (když to jde) vypne net a může jet jak za starejch časů. Kdo si chce nechat pomoct, tak leze po interenetech a nechá se vést. Někdo se chce trápit a přijít si na to sám, někdo se chce bez překážek a záseků bavit.
Dokud je volba všechno je Fpoho.
Komentář byl uzamčen
Urážka osob s postižením, považováno za hate speech.
Hry jsou stale vetsi mainstream, naklady rostou a firmy se snazi ke hrani prilakat uplne vsechny. Casual hracum to muze odstranit prekazky, ktere by jinak vedly k tomu, ze hru prestanou hrat. Casem se tohle stane uplne beznou ficurou, herni spolecnosti budou chtit, aby mohl hrat uplne kazdy nouma. :-) Osobne v tom nevidim problem, proste to nebudu pouzivat, stejne jako nezapinam hry na easy.
Však už před vydáním ps5 slibovali, že tam bude nějaká funkce, co vám napoví ve hře a nebudete muset zapínat YouTube a dneska je z toho houno. Asi zas potřebujou v něčem utopit prachy, aby si mohli odepsat z daní investice.
Tvle to jsou pičoviny. Udělejte z lidí fakt jen dementní schránky, které si bez AI nic nezjistí a už i u her budou jako děcka jen sedět a bude to za ně hrat AI? Aby se náhodou nemusel někdo trochu víc snažit a překonávat překážky 😡
No tvl. jako fakt? Ja si pamatuju jak jsem si na ctvereckovany papir kreslil dungeony abych se v nich neztratil v hlubokych 90 letech...🤣
Nemám nic proti, když využije causal hráč. Ale při použití by to mělo okamžitě zablokovat trofeje na daný průchod hrou. A také je otázkou zda to sony bude implementovat pouze do svých first party her.
A co ai asistenta co tu hru rovnou dohraje?🤦
Ta sony jde fakt do hoven tvl😀. Uz ted poslednich xlet jsou jejich hry jak pro mentalne slabe a ted jeste toto...
@TonySoprano fakt jsem se zasmal 😁😁
Zlaté PC 🫡 Casualum konzolky a nintendicka.
Je mi jasné, že místní hardcore skvadře by z toho praskala žilka v hlavě, kdyby se něco takového objevilo na PSku. Protože hry už jsou teď příliš snadné a vodí hráče za ručičku a kdo 1000x nechcípnul v Dark Souls, tak je životní břídil a bla bla bla, známe to :D Mě by taková funkce neurazila. Už nemám v životě tolik času a chuti řešit hodinový zákys ve hře a pak to dohledávat na YT. Takže za mě je to ok.
Lidi jsou čím dál tupější tak proto. Za chvíli to AI projde celou hru a ty budeš čumět jak to hraje za tebe
Takový vedení za ručičku, proč?!
Mistr uz se nemuze dockat. 😀